Приборы преобразуют полученные от подключенного оборудования данные в стандартные протоколы, например, TCP/IP, RS-485 и передают их на сервер. При этом сетевые контроллеры КОДОС используют канал связи с небольшой пропускной способностью и значительно экономят трафик, что особенно актуально при построении систем безопасности распределенных объектов.
КОДОС СК-Е предназначен для сопряжения контроллеров доступа серий КОДОС RС и КОДОС ЕС, а так же ППКОП КОДОС А-20 с ПК через сеть TCP/IP.
В отличие от адаптеров, которые осуществляют простое преобразование одного протокола в другой, КОДОС СК-Е производит «фильтрацию» передаваемой через него информации. Он «умеет» распознавать и не передавать в сеть «пустые события». Т.е., если на опрашиваемом приборе системы безопасности КОДОС не было новых событий, то КОДОС СК-Е не передаст на сервер ИКБ данные с него.
К сетевому контроллеру КОДОС СК-Е допускается подключение до 32 контроллеров доступа серии КОДОС RС и до 250 контроллеров доступа серии КОДОС ЕС, а также непосредственное подключение одного прибора КОДОС А-20 или до четырех указанных приборов при подключении через адаптеры КОДОС АД-01. Эти адаптеры подключаются к КОДОС СК-Е по интерфейсу RS-485.
Непосредственно подключенный прибор КОДОС А-20 может располагаться на удалении до 10 м от сетевого контроллера КОДОС СК-Е.
Общие
Напряжение питания, В от: 9,5 до 15,0
Ток потребления, мА: не более 600
Длина соединительного кабеля до ПК, м: не более 100
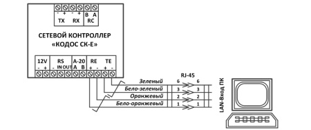
Тип ЛВС при подключении к ПК: 100 BaseTX
Протокол связи с ПК: ТСР/IP
Амплитуда знакопеременных сигналов на линии связи с контроллерами доступа серии «КОДОС EC», В: 23...25
Сопротивление линии связи с контролерами доступа серии «КОДОС EC», Ом, не более: 100
Емкость линии связи с контроллерами доступа серии «КОДОС EC», мкФ, не более: 0,1
Габаритные размеры, мм: 136*100*27
Масса нетто, г, не более: 150
Для покупки товара в нашем интернет-магазине выберите понравившийся товар и добавьте его в корзину. Далее перейдите в Корзину и нажмите на «Оформить заказ» или «Быстрый заказ».
Когда оформляете быстрый заказ, напишите ФИО, телефон и e-mail. Вам перезвонит менеджер и уточнит условия заказа. По результатам разговора вам придет подтверждение оформления товара на почту или через СМС. Теперь останется только ждать доставки и радоваться новой покупке.
Оформление заказа в стандартном режиме выглядит следующим образом. Заполняете полностью форму по последовательным этапам: адрес, способ доставки, оплаты, данные о себе. Советуем в комментарии к заказу написать информацию, которая поможет курьеру вас найти. Нажмите кнопку «Оформить заказ».
Оплачивайте покупки удобным способом. В интернет-магазине доступно 3 варианта оплаты:
- Наличные при самовывозе или доставке курьером. Специалист свяжется с вами в день доставки, чтобы уточнить время и заранее подготовить сдачу с любой купюры. Вы подписываете товаросопроводительные документы, вносите денежные средства, получаете товар и чек.
- Безналичный расчет при самовывозе или оформлении в интернет-магазине: карты Visa и MasterCard. Чтобы оплатить покупку, система перенаправит вас на сервер системы ASSIST. Здесь нужно ввести номер карты, срок действия и имя держателя.
- Электронные системы при онлайн-заказе: PayPal, WebMoney и Яндекс.Деньги. Для совершения покупки система перенаправит вас на страницу платежного сервиса. Здесь необходимо заполнить форму по инструкции.
Дополнительная вкладка, для размещения информации о магазине, доставке или любого другого важного контента. Поможет вам ответить на интересующие покупателя вопросы и развеять его сомнения в покупке. Используйте её по своему усмотрению.
Вы можете убрать её или вернуть обратно, изменив одну галочку в настройках компонента. Очень удобно.
